Tóm tắt
Bài viết sử dụng tài liệu thứ cấp trong phân tích cho thấy khái niệm, những tác động tích cực và tiêu cực của thương mại điện tử đến môi trường. Đồng thời, nghiên cứu này đưa ra mô hình và quy trình thương mại điện tử xanh. Dựa trên nghiên cứu thực tiễn tại Việt Nam cho thấy để bảo đảm mục tiêu thúc đẩy thương mại điện tử xanh Việt Nam đã đưa ra 6 nhóm tiêu chí đánh giá nội dung này.
Từ khóa: Thương mại điện tử, thương mại điện tử xanh, thương mại điện tử xanh tại Việt Nam
1. Đặt vấn đề
Thương mại điện tử xanh là về việc đưa ra những ý tưởng mới, sáng tạo nhằm giảm thiểu chất thải, lượng khí thải carbon và đưa ra những lựa chọn có trách nhiệm trong từng bước của quy trình từ việc tìm nguồn cung ứng đến sản xuất, vận chuyển và giao hàng, (Ecocard, 2023). Theo Zixiang Qu (2024) vai trò quan trọng của nền tảng thương mại điện tử trong tăng trưởng kinh tế toàn cầu và đổi mới kinh doanh, bảo vệ môi trường và tăng cường trách nhiệm xã hội, đồng thời thúc đẩy các con đường và triển vọng trong tương lai để đạt được các mục tiêu phát triển bền vững dài hạn.
Thương mại điện tử xanh là xu hướng bền vững nhằm giảm thiểu tác động môi trường thông qua các giải pháp như bao bì tái chế, vận chuyển ít phát thải và tối ưu chuỗi cung ứng, (Lê Thị Bích Phượng và Nguyễn Thị Thu Trang, 2025).
Mô hình Thương mại điện tử xanh không bao bì nhựa có tác dụng tích cực đối với môi trường:
Thứ nhất, nhờ việc sử dụng bao bì (bao gồm bao bì nhựa) thân thiện môi trường phù hợp với quy định pháp luật (vật liệu tái chế, có khả năng tái sử dụng, tái chế và phân huỷ sinh học) dẫn tới giảm lượng vật liệu nguyên sinh cũng như chất thải nhằm giảm chất thải.
Thứ hai, thông qua áp dụng các mô hình sản xuất và vận chuyển thân thiện hơn với môi trường giúp giảm phát thải khí nhà kính, nâng cao chất lượng không khí. Thứ ba, do sử dụng ít hơn các chất độc hại, năng lượng, bao bì giúp bảo vệ hệ sinh thái (Nguyễn Thanh Hưng, Trần Văn Trọng và Nguyễn Thị Hồng Vân, 2024).
Với những vai trò quan trọng như vậy nghiên cứu đưa ra một số vấn đề lý luận về thương mại điện tử xanh. Đồng thời, tiến hành nghiên cứu trường hợp tại Việt Nam dựa trên bộ tiêu chí thương mại điện tử xanh.
2. Phương pháp nghiên cứu
Nghiên cứu sử dụng phương pháp thu thập dữ liệu thứ cấp từ các nguồn tài liệu trọng nước và quốc tế. Đặc biệt sử dụng dữ liệu của Hiệp hội Thương mại điện tử Việt Nam (VECOM), từ đó tiến hành tổng hợp và phân tích một số vấn đề lý luận về thương mại điện tử xanh – Nghiên cứu trường hợp tại Việt Nam.
3. Kết quả nghiên cứu
3.1. Lý luận về Thương mại điện tử xanh
3.1.1. Khái niệm thương mại điện tử xanh
Theo Ecocard (2023) có thể hiểu thương mại điện tử xanh là về việc đưa ra những ý tưởng mới, sáng tạo nhằm giảm thiểu chất thải, lượng khí thải carbon và đưa ra những lựa chọn có trách nhiệm trong từng bước của quy trình từ việc tìm nguồn cung ứng đến sản xuất, vận chuyển và giao hàng.
3.1.2. Tác động của thương mại điện tử đối với môi trường
3.1.2.1 Những tác động tích cực của thương mại điện tử tới môi trường
Thương mại điện tử có tác động đến môi trường như sau:
(1) Giảm nguyên liệu trong quá trình kinh doanh: Giảm chi phí về giấy tờ và nhờ điện toán đám mây nên lưu trữ được dữ liệu lớn.
(2) Giảm hàng tồn kho và tài nguyên kho bãi: Thương mại điện tử giúp việc trao đổi thông tin được nhanh chóng, chính xác, tin cậy, đáp ứng nhu cầu đúng đối tượng, thời gian. Nhờ đó thương mại điện tử có thể hỗ trợ giảm hàng tồn kho, không gian kho và các tài nguyên liên quan tới kho bãi.
(3) Nâng cao hiệu quả sử dụng tài nguyên đất: Thương mại điện tử hoạt động mua sắm hàng hóa và dịch vụ không cần sự gặp mặt trực tiếp giữa người mua và người bán nên giảm được chi phí đặt vị trị cửa hàng, từ đó nâng cao hiệu quả sử dụng đất. Đồng thời, giảm nhu cầu vận tải và mức tiêu thụ nhiên liệu.
(4). Hỗ trợ trao đổi vật liệu thứ cấp hiệu quả: Thương mại điện tử tạo ra kênh trao đổi hiệu quả cho thị trường vật liệu thứ cấp – vật liệu tái sử dụng và tái chế và tạo ra một kênh hiệu quả trao đổi tín chỉ carbon trên phạm vi toàn cầu.
(5) Giảm phát thải khí carbon: thương mại điện tử giúp giảm tiêu thụ năng lượng và qua đó giảm phát thải khí carbon.
(6) Giảm thiểu nhu cầu vận chuyển truyền thống: thương mại điện tử giúp giảm lượng ce lưu thông trên đường và tiết kiệm nhiên liệu và giảm ô nhiễm không khí.
3.1.2.2. Những tác động tiêu cực của thương mại điện tử tới môi trường
Song song với những tác động tích cực của thương mại điện tử là những tác động tiêu cực. Căn cứ vào bối cảnh kinh tế, xã hội, văn hóa kinh doanh và tiêu dùng. Các tác động tiêu cực chính là: Một là, sử dụng nhiều vật liệu cho bao bì đóng gói và dụng cụ khó phân huỷ. Hai là, tiêu thụ nhiều năng lượng hơn. Ba là, tiêu dùng thái quá dẫn tới lãng phí tài nguyên và nhiều rác thải. Bốn là, phát thải khí carbon, tăng mật độ giao thông, tiếng ồn từ hoạt động giao hàng. Năm là, dịch vụ gọi đồ ăn công nghệ phát sinh nhiều rác thải nhựa.
3.1.2. Mô hình thương mại điện tử xanh
Học giả Thanarak Prasetwit, Kanchana Kanchanasutorn, Varin Vonggmance (2023) đã đưa ra mô hình thương mại điện tử gồm 10 yếu tố.

Hình 1. Mô hình thương mại điện tử xanh
Nguồn: Thanarak Prasetwit, Kanchana Kanchanasutorn, Varin Vonggmance (2023)
Thứ nhất, nguyên liệu đầu vào là yếu tố đầu tiên trong mô hình, trong đó tập chung chính vào việc chọn nguyên liệu thân thiện với môi trường. Nguyên liệu này có thể tái chế, tái sử dụng hoặc phân hủy sinh học. Đồng thời, giảm cường độ phát thải carbon trong quá trình sản xuất vật liệu. Khuyến khích thiết kế xanh (Green Design) – sản phẩm phải dễ tái chế và ít gây ô nhiễm khi bị thải bỏ. Ví dụ: dùng giấy tái chế, nhựa sinh học, hoặc nguyên liệu sản xuất ít tiêu tốn năng lượng.
Thứ hai, nhà sản xuất là giai đoạn chuyển đổi nguyên liệu thành sản phẩm. Trong đó, thực hiện sản xuất xanh (Green Manufacturing) tập trung chính là: Giảm chất thải và khí thải; Tiết kiệm năng lượng; Dùng năng lượng tái tạo (mặt trời, gió…); Tránh sản xuất dư thừa và hàng tồn kho (dead stock); Khuyến khích dây chuyền tinh gọn (Lean process) và công nghệ sạch. Ví dụ: sử dụng máy móc tiết kiệm điện, tái sử dụng nước công nghiệp.
Thứ ba, người bán là cầu nối giữa nhà sản xuất, sàn thương mại điện tử và khách hàng. Người bán sẽ khuyến khích khách hàng gom đơn, tránh chia nhỏ đơn hàng (split shipment), gửi hóa đơn điện tử, hạn chế giấy, hợp tác với đơn vị vận chuyển xanh (green logistics) – rút ngắn tuyến đường, giao hàng đầy tải. Đồng thời họ tiến hành truyền thông về chiến lược xanh (green vision) để nâng cao nhận thức khách hàng. Ví dụ: khuyến mãi cho khách đặt 1 đơn nhiều sản phẩm hoặc nhận hàng chậm để giảm phát thải.
Thứ tư, sàn thương mại điện tử là nền tảng trực tuyến kết nối người bán và người mua. Trên sàn này sẽ diễn ra các hoạt động: Quảng bá sản phẩm thân thiện môi trường, tạo chính sách khuyến khích người bán xanh, ví dụ: giảm phí đăng bán. Đồng thời, dùng năng lượng sạch để vận hành trung tâm dữ liệu (data center). Tổ chức chiến dịch “mua xanh – giao xanh” để thu hút khách hàng. Ví dụ: Lazada, Shopee, Amazon có thể tạo “gian hàng xanh” cho sản phẩm thân thiện môi trường.
Thứ năm, bao bì và đống gói là một trong những nguồn phát thải lớn nhất trong thương mại điện tử. Trong mô hình thương mại điện tử xanh, người bán hàng sẽ dùng bao bì tái chế hoặc tái sử dụng được, loại bỏ bao bì không cần thiết như: giảm lớp nhựa, giấy bọc. Đồng thời, tối ưu kích thước hộp để giảm không khí trống khi vận chuyển và khuyến khích khách hàng hoàn trả bao bì để tái chế. Ví dụ: thay túi nhựa bằng bìa carton tái chế, giảm xốp nổ, khuyến khích khách trả lại vỏ hộp.
Thứ sáu, kho hàng là nơi lưu trữ và quản lý hàng trước khi giao đi. Kho hàng sẽ thực hiện giảm phát thải từ năng lượng bằng cách là: Dùng điện mặt trời, pin Li-ion, đèn LED; Thiết kế mái lấy sáng tự nhiên; Tối ưu điều hòa theo khu vực (zoning). Đồng thời, dùng xe nâng điện, xe hybrid, tránh nhiên liệu hóa thạch. Ví dụ: kho của Tesco được nêu trong bài là zero-carbon warehouse — dùng năng lượng tái tạo và thu nước mưa.
Thứ bảy, trung tâm phân phối bên thứ ba. Đây là nơi phân loại hàng hóa theo khu vực và giao cho đơn vị vận chuyển cuối cùng. Trung tâm này sẽ tìm cách nào đó để tối ưu tuyến đường giao hàng, giảm số chuyến xe trống, dùng xe tải đầy tải (full truckload) để giảm phát thải, sử dụng năng lượng sạch trong trung tâm phân phối (điện mặt trời, năng lượng tái tạo) và thiết kế trung tâm hợp lý để giảm chi phí vận hành.
Thứ tám, vận chuyển. Đây là giai đoạn phát thải lớn nhất do giao hàng nhanh và nhiều đơn lẻ. Trong đó, khuyến khích giao hàng chậm – miễn phí (eco-shipping) thay vì giao nhanh, dùng xe điện, xe hydro hoặc hybrid, lập lộ trình tối ưu (milk run) để giảm tắc nghẽn và nhiên liệu và giao hàng kết hợp (nhiều đơn cùng tuyến). Việc thực hiện các bước trên có thể giảm CO₂ tới 30% và chi phí giao hàng 25%.
Thứ chín, khách hàng. Đây là đối tượng giữ vai trò trung tâm của TMĐT xanh. Họ sẽ chọn sản phẩm thân thiện môi trường, đặt hàng gộp, đọc hướng dẫn sử dụng và tái sử dụng bao bì, phân loại rác đúng cách và ủng hộ doanh nghiệp áp dụng tiêu chuẩn xanh. Ví dụ: người tiêu dùng có thể chọn “Giao hàng tiết kiệm carbon” hoặc “Bao bì tái chế” khi thanh toán.
Thứ mười, xử lý rác thải là giai đoạn cuối cùng trong mô hinh thương mại điện tử xanh. Chất thài này được phân thành 4 nhóm: (1) Rác phân hủy sinh học (Biodegradable), (2) Rác tái chế (Recyclable), (3) Rác thông thường (General waste), (4) Rác nguy hại (Hazardous). Đồng thời, tăng cường tái chế, tái sử dụng, giảm lượng rác ra bãi chôn lấp. Ví dụ: tái chế hộp giấy, tái sử dụng túi nhựa, ủ phân rác hữu cơ.
3.1.3. Quy trình thương mại điện tử xanh
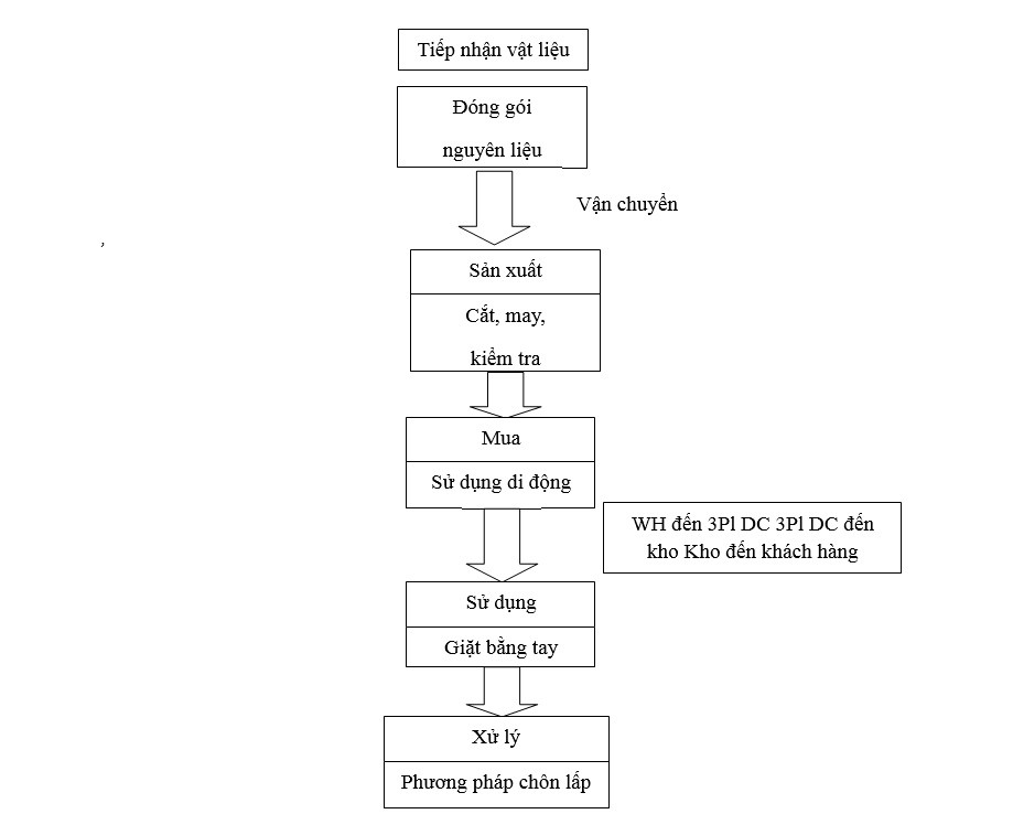
Thanarak Prasetwit, Kanchana Kanchanasutorn, Varin Vonggmance (2024) quy trình thương mại điện tử xanh bắt đầu theo cùng một cách như mô hình hiện tại trong quá trình tiếp nhận nguyên liệu và sản xuất. Sau khi người tiêu dùng đặt hàng qua điện thoại di động, sản phẩm được lấy và đóng gói lại tại kho của người bán. Trong mô hình xanh này, quy trình được tối ưu hóa bằng cách liên kết hệ thống của người bán với nền tảng thương mại điện tử và trung tâm phân phối hậu cần của bên thứ ba (3rdPL).
Sự tích hợp này giúp giảm thiểu vận đơn hàng hai xuống còn một. Nhà cung cấp 3rdPL thu gom sản phẩm trực tiếp từ kho của người bán và vận chuyển đến trung tâm phân phối của họ, nhờ vậy mà loại bỏ trung tâm phân phối của nền tảng thương mại điện tử khỏi vòng lặp và tránh vận chuyển hai lần. Sau đó, sản phẩm được vận chuyển bằng xe tải 4 bánh với quãng đường ước tính 42 km, được đo bằng Google Maps và sau đó được chuyển đến kho tương ứng với mã bưu chính. Cuối cùng, kho gửi bưu kiện đến người tiêu dùng. Sau khi người tiêu dùng đã sử dụng sản phẩm, sản phẩm thường được xử lý tại bãi chôn lấp.

Hình 2. Quy trình thương mại điện tử xanh
Nguồn: Thanarak Prasetwit, Kanchana Kanchanasutorn, Varin Vonggmance (2024)
3.2. Thương mại điện tử xanh tại Việt Nam
Theo kết quả khảo sát 5000 doanh nghiệp (Doanh nghiệp Nhà nước, Doanh nghiệp ngoài Nhà nước, Doanh nghiệp có vốn đầu tư nước ngoài) của Cục Thương mại điện tử và kinh tế số cho thấy từ năm 2019 VECOM đã đề xuất Chương trình “Phát triển thương mại điện tử bền vững giai đoạn 2019 – 2025”. Việc triển khai nội dung bảo vệ môi trường trong Chương trình này bị ảnh hưởng đáng kể do đại dịch Covid-19. Năm 2022 VECOM ưu tiên các hoạt động bảo vệ môi trường và khuyến khích doanh nghiệp thương mại điện tử thực hiện vai trò trách nhiệm xã hội đóng góp vào phát triển bền vững.
Thương mại điện tử (TMĐT) đã trở thành động lực kinh tế quan trọng, song đi kèm là thách thức lớn về môi trường, mà trọng tâm là lượng rác thải từ bao bì đóng gói. Việc "xanh hóa" TMĐT là xu hướng tất yếu, đòi hỏi các thương nhân phải chuyển đổi từ vật liệu dùng một lần (như túi nylon) sang các giải pháp bền vững hơn (như túi giấy, carton tái chế). Chính vì vậy bài viết nghiên cứu tình hình sử dụng bao bì của Thương nhân và Bộ tiêu chí về thương mại điện tử xanh tại Việt Nam.
3.2.1. Tình hình sử dụng bao bì của Thương nhân
Theo khảo sát của WWP (2023) trên 20 thương nhân, dữ liệu về tình hình sử dụng bao bì đóng gói theo loại hình kinh doanh và hình thức bán hàng đã phản ánh rõ khoảng cách lớn giữa thực tiễn đóng gói hiện tại và các tiêu chí của TMĐT xanh, đồng thời chỉ ra những điểm nghẽn cần được giải quyết để thúc đẩy phát triển bền vững. Phân tích dưới đây sẽ làm rõ mức độ sẵn sàng chuyển đổi xanh của các chủ thể kinh doanh.
Doanh nghiệp, dù có tiềm lực tài chính lớn hơn, lại gần như loại bỏ Túi giấy (0,00%) và tập trung mạnh vào giải pháp Carton kết hợp túi nylon (42,86%). Điều này cho thấy ưu tiên hàng đầu của khối doanh nghiệp là đảm bảo an toàn hàng hóa và chất lượng đóng gói chuyên nghiệp (thường dùng nylon để chống sốc/nước) hơn là các tiêu chí thuần về bảo vệ môi trường. Việc sử dụng vật liệu hỗn hợp này gây khó khăn cho quá trình tái chế.

Biểu 1. Tình hình sử dụng bao bì đóng gói theo loại hình kinh doanh
Nguồn: WWP (2023)
Hộ kinh doanh có tỷ lệ sử dụng Túi giấy (15,38%) cao hơn đáng kể so với doanh nghiệp, cho thấy sự linh hoạt và có thể là nhận thức về trách nhiệm môi trường của một bộ phận nhỏ lẻ. Tuy nhiên, sự phụ thuộc vào Túi nylon đơn thuần (30,77%) và Carton đơn thuần (38,46%) vẫn phản ánh nhu cầu tối ưu hóa chi phí và tính đơn giản trong vận hành là yếu tố quyết định.
Dữ liệu bảng 1 cho thấy khi thương nhân chuyển sang mô hình Bán từ 2 kênh trở lên (đa kênh), nhu cầu sử dụng Túi nylon tăng vọt lên 71,83%. Đây là minh chứng rõ ràng nhất cho thấy sự xung đột giữa hiệu quả logistics đa kênh và mục tiêu TMĐT xanh. Các sàn TMĐT và dịch vụ giao hàng thường ưu tiên vật liệu nhẹ, mỏng, chi phí thấp như nylon để tối ưu hóa không gian lưu trữ và chi phí vận chuyển.
Bảng 1. Tình hình sử dụng bao bì đóng gói theo hình thức bán hàng

Bao bì tùy chỉnh (Loại khác) bị loại bỏ. Tỷ lệ sử dụng "Loại khác" giảm từ 16,67% xuống 0,00% khi chuyển sang bán đa kênh. Điều này ngụ ý rằng, các quy trình chuẩn hóa và quy định đóng gói khắt khe của các nền tảng đa kênh đang hạn chế khả năng sáng tạo và sử dụng các giải pháp đóng gói tùy chỉnh hoặc bền vững (có thể thuộc nhóm "Loại khác") của thương nhân.
Dựa trên phân tích, có thể kết luận rằng hiện trạng đóng gói trong TMĐT Việt Nam chưa sẵn sàng cho việc chuyển đổi Xanh triệt để. Mặc dù có nhận thức ban đầu (thể hiện qua việc HKD sử dụng Túi giấy), nhưng sự thống trị của túi nylon, đặc biệt trong mô hình kinh doanh đa kênh, cho thấy yếu tố Chi phí và Logistics vẫn là rào cản lớn nhất. Để thúc đẩy TMĐT xanh, cần có sự can thiệp chính sách để hỗ trợ giá bao bì bền vững và đặt ra các tiêu chuẩn đóng gói thân thiện môi trường cho các sàn TMĐT.
3.2.2. Bộ tiêu chí về thương mại điện tử xanh- ECGI của Việt Nam
Việt Nam đưa ra bộ tiêu chí gồm 6 nhóm với 19 tiêu chí thành phần. (1) Nhóm tiêu chí 1: Cam kết triển khai TMĐT Xanh theo mô hình bền vững, bao gồm 1 tiêu chí. (2) Nhóm tiêu chí 2: Hàng hóa, bao gồm 2 tiêu chí. (3) Nhóm tiêu chí 3: Dịch vụ hoàn tất đơn hàng, bao gồm 6 tiêu chí. (4) Nhóm tiêu chí 4: Hỗ trợ người tiêu dùng tham gia bảo vệ môi trường, bao gồm 5 tiêu chí. (5) Nhóm tiêu chí 5: Cam kết xanh hóa các hoạt động nội bộ, bao gồm 2 tiêu chí. (6) Nhóm tiêu chí 6: Nghiên cứu và triển khai các hoạt động thúc đẩy TMĐT Xanh theo mô hình bền vững, bao gồm 3 tiêu chí.
Bảng 2. Bộ tiêu chí về thương mại điện tử xanh- ECGI
|
Nhóm tiêu chí |
Tiêu chí |
|
Nhóm tiêu chí 1: Cam kết triển khai TMĐT Xanh theo mô hình bền vững Tiêu chí |
Tiêu chí 1: Cam kết kinh doanh TMĐT Xanh
|
|
Nhóm tiêu chí 2: Hàng hóa Tiêu chí |
Tiêu chí 1: Không quảng cáo, kinh doanh hàng hóa môi trường bị pháp luật cấm kinh doanh |
|
Tiêu chí 2: Tuân thủ các điều kiện đối với hàng hóa môi trường mà pháp luật hạn chế kinh doanh và kinh doanh có điều kiện |
|
|
Nhóm tiêu chí 3: Dịch vụ hoàn tất đơn hàng, giao hàng chặng cuối Tiêu chí |
Tiêu chí 1: Không sử dụng bao bì, vật liệu, dụng cụ nhựa bị pháp luật cấm sử dụng |
|
Tiêu chí 2: Hạn chế sử dụng bao bì, vật liệu, dụng cụ nhựa và các sản phẩm liên quan tới dịch vụ hoàn tất đơn hàng tác động xấu tới môi trường |
|
|
Tiêu chí 3: Ưu tiên đóng gói thân thiện môi trường |
|
|
Tiêu chí 4: Hoạt động quản lý kho và giao hàng thân thiện môi trường |
|
|
Tiêu chí 5: Hoàn trả hàng thân thiện môi trường |
|
|
Nhóm tiêu chí 4: Hỗ trợ người tiêu dùng tham gia bảo vệ môi trường Tiêu chí |
Tiêu chí 1: Phổ biến và khuyến khích người tiêu dùng nâng cao ý thức bảo vệ môi trường, trở thành người tiêu dùng Xanh |
|
Tiêu chí 2: Hỗ trợ khách hàng không sử dụng hoặc giảm sử dụng dụng cụ nhựa |
|
|
Tiêu chí 3: Hỗ trợ người tiêu dùng chọn hình thức giao hàng giảm phát thải khí carbon, bao gồm hạn chế sử dụng giao hàng siêu tốc |
|
|
Tiêu chí 4: Hỗ trợ khách hàng trở thành người tiêu dùng có trách nhiệm |
|
|
Tiêu chí 5: Hỗ trợ người tiêu dùng phản hồi về hoạt động bảo vệ môi trường của thương nhân |
|
|
Nhóm tiêu chí 5: Cam kết xanh hóa các hoạt động nội bộ Tiêu chí |
Tiêu chí 1: Xây dựng và công bố Chính sách bảo vệ môi trường trong hoạt động nội bộ của đơn vị |
|
Tiêu chí 2: tiết kiệm năng lượng, sử dụng các nguồn năng lượng xanh, năng lượng tái tạo |
|
|
Nhóm tiêu chí 6: Nghiên cứu và triển khai các hoạt động thúc đẩy TMĐT Xanh theo mô hình bền vững Tiêu chí |
Tiêu chí 1: Nghiên cứu và triển khai kinh tế tuần hoàn |
|
Tiêu chí 2: Triển khai Bộ Quy tắc Hướng dẫn Kinh doanh có trách nhiệm vì người tiêu dùng trong thương mại điện tử tại Việt Nam |
|
|
Tiêu chí 3: Tìm hiểu và triển khai Bộ chỉ số Doanh nghiệp bền vững CSI |
Nguồn: Hiệp hội Thương mại điện tử Việt Nam (2025)
Bộ tiêu chí này nhằm đánh giá và nhận diện doanh nghiệp Thương mại điện tử xanh, mô hình Thương mại điện tử bền vững, không bao bì nhựa khó phân hủy.
4. Kết luận
Bài viết cho thấy tác động tích cực và tác động tiêu cực đối với môi trường, và mô hình và quy trình thương mại điện tử xanh. Kết quả khảo sát của WWF(2023) cho thấy túi nylon chiếm tỷ lệ lớn (71,83% ở bán đa kênh) mâu thuẫn trực tiếp với mục tiêu hạn chế nhựa của TMĐT Xanh.
Doanh nghiệp ưu tiên Carton kết hợp nylon (42,86%) cho thấy sự ưu tiên an toàn hàng hóa hơn là tính bền vững, trong khi bao bì xanh như Túi giấy có tỷ lệ rất thấp. Thực trạng này phản ánh TMĐT Việt Nam chưa sẵn sàng chuyển đổi Xanh do rào cản Chi phí và Logistics. Cần có sự can thiệp chính sách và tiêu chuẩn đóng gói để thúc đẩy mục tiêu bền vững.
Để hướng tới mục tiêu thúc đẩy thương mại điện tử xanh Việt Nam đưa ra bộ tiêu chí gồm 6 nhóm với 19 tiêu chí thành phần. (1) Nhóm tiêu chí 1: Cam kết triển khai TMĐT Xanh theo mô hình bền vững, bao gồm 1 tiêu chí. (2) Nhóm tiêu chí 2: Hàng hóa, bao gồm 2 tiêu chí. (3) Nhóm tiêu chí 3: Dịch vụ hoàn tất đơn hàng, bao gồm 6 tiêu chí. (4) Nhóm tiêu chí 4: Hỗ trợ người tiêu dùng tham gia bảo vệ môi trường, bao gồm 5 tiêu chí. (5) Nhóm tiêu chí 5: Cam kết xanh hóa các hoạt động nội bộ, bao gồm 2 tiêu chí. (6) Nhóm tiêu chí 6: Nghiên cứu và triển khai các hoạt động thúc đẩy TMĐT Xanh theo mô hình bền vững, bao gồm 3 tiêu chí.
Tài liệu tham khảo
Ecocard (2023). A Guide to Green Ecommerce. https://ecocart.io/green-ecommerce/.
Hiệp hội Thương mại điện tử Việt Nam (2025). Báo cáo chỉ số Thương mại điện tử Việt Nam năm 2025. Hà Nội
Nguyễn Thanh Hưng, Trần Văn Trọng và Nguyễn Thị Hồng Vân (2024).
Bộ tiêu chí Thương mại điện tử xanh – ECGI. Hiệp hội Thương mại điện tử Việt Nam (VECOM). Nhà xuất bản Thanh niên.
Lê Thị Bích Phượng và Nguyễn Thị Thu Trang (2025). Thương mại điện tử xanh: Thực trạng và giải pháp nâng cao hiệu quả. Tạp chí Khoa học và Công nghệ Số 17(2025), 19 – 25.
Thanarak Prasetwit, Kanchana Kanchanasutorn, Varin Vonggmance (2023). Development of a Green E-Commerce Model ans Analysis of Carbon Footprints Adoption. Hong Kong journal of social sciences Vol.62 Autmm/Winter 2023.
Thanarak Prasetwit, Kanchana Kanchanasutorn, Varin Vonggmance (2024). Green E-commerce Supply Chain
Management. Operations and Supply Chain Management. Vol. 17, No. 3, 2024, pp. 141 – 151
WWF (2023). Báo cáo chất thải nhựa bào bì từ thương mại điện tử tại Việt Nam 2023. Nhà xuất bản Thanh niên.
Zixiang Qu (2024). Research on the Green Development of E-Commerce Economy Based on E-Commerce
Platform. Advances in Economics Management and Political Sciences 114(1):147-154